google-site-verification=ne6G5Vr6nbD8EHcN8bwnfb0Wd2QIbpMNrb27Dl6jG4o ULIMORANGKIR

This is default featured slide 1 title

Go to Blogger edit html and find these sentences.Now replace these sentences with your own descriptions.

This is default featured slide 2 title

Go to Blogger edit html and find these sentences.Now replace these sentences with your own descriptions.

This is default featured slide 3 title

Go to Blogger edit html and find these sentences.Now replace these sentences with your own descriptions.

This is default featured slide 4 title

Go to Blogger edit html and find these sentences.Now replace these sentences with your own descriptions.

This is default featured slide 5 title

Go to Blogger edit html and find these sentences.Now replace these sentences with your own descriptions.

SERI 11 PESAWAT SEDERHANA

Latihan Mandiri 

Pilihan Berganda

 

Soal : 1
Sebuah benda bermassa 4 kg bergerak dengan kecepatan vKemudian benda
tersebut bertambah kecepatannya menjadi 4m/s sehingga mengalami perubahan
energi kinetik sebesar 20J. Nilai adalah .........m/s.
a. 2  
b. 5                
c. 6                
d. 7


Soal : 2 

Seekor belalang yang telah mati massanya 35 gram. Untuk membawa belalang
yang telah mati ke sarang semut yang jaraknya 4 m diperlukan usaha 2 joule. 
Jika setiap semut hanya memiliki gaya angkat 0,025 N, banyaknya semut yang
harus bekerja sama agar dapat mengangkat belalang tersebut adalah ........ ekor.
a. 10  
b. 15  
c. 20         
d. 25


Soal : 3

Sebuah benda bermassa 4 kg, mula-mula diam, ditarik  mendatar di atas bidang

datar tanpa gesekan oleh gaya sebesar 40 N. Ketika benda menempuh jarak 8 m, 

kecepatannya ........ m/s.

a. 2 

b. 3√3

c. 10

d. 4√10


Soal : 4
Sebuah benda yang massanya 6 kg bergerak di bidang datar licin. Pada suatu
tempat kecepatan benda 3 m/s, dan setelah menempuh meter kecepatannya 
menjadi 7 m/s. Dari data tersebut dapat diketahui besarnya gaya yang bekerja
pada benda adalah .......
a. 30 N
b. 60 N
c. 120 N
d. 360 N

Soal : 5
Sebuah benda yang massanya 3 kg mengalami kecepatan dari 3 m/s menjadi 5
m/s. Besar perubahan energi kinetiknya adalah ... J
a. 3
b.12
c. 24
d.36

Soal : 6
Sebuah trolly yang beratnya 10 N ditarik dari dasar bidang miring hingga 
mencapai puncak bidang miring.

GAMBAR SOAL 6









Besar gaya F yang diperlukan adalah ......
a. 15 N
b. 12,5 N
c. 5 N
d. 2,5 N

Soal : 7
Perhatikan gambar timbangan di bawah ini !

GAMBAR SOAL 7











Nilai w agar timbangan dalam keadaan seimbang adalah ...
a. 1 N
b. 10 N
c. 100 N
d. 200 N

Soal : 8
Massa sebuah katrol adalah 2 kg. Besar gaya F agar dapat mengangkat beban
seperti gambar di bawah ini adalah .....

GAMBAR SOAL 8















a. 600 N
b.610 N
c. 650 N
d.700 N

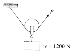
Soal : 9
Gaya untuk mengangkat beban adalah .....

GAMBAR SOAL 9













a. 2400 N
b.1200 N
c. 600 N
d.300 N

Soal : 10
Perhatikan sistem roda bergandar di bawah ini.

GAMBAR SOAL 10










Bila diameter roda besar 10 cm. Bila untuk  dapat mengangkat sebuah balok
bermassa 10 kg, diperlukan gaya sebesar 25 N, maka besar diameter roda kecil 
adalah ..........
a. 2,5 cm
b. 3,0 cm
c. 4,5 cm
d. 5,0 cm

Uraian

Soal : 11
Sebuah peluru bermassa 20 gram  ditembakkan pada sebuah papan dengan
kecepatan 200 m/s. Bila peluru tersebut tertanam dalam papan sedalam 5 cm, 
maka besar gaya hambat papan terhadap peluru.

Soal : 12
Empat buah pengungkit mempunyai cirri berbeda pada ukuran lengan 
beban dan lengan kuasanya seperti tabel di bawah ini.

TABEL SOAL 12











Keuntungan mekanik terbesar diperoleh dari pengungkit nomor.

Soal : 13
Perhatikan gambar !

GAMBAR SOAL 13










Besar gaya yang diperlukan untuk mendorong beban.

Soal : 14
Sebuah ember memiliki volume 1000 cm3 berisi penuh air seperti 
ditunjukkan pada gambar di bawah ini.

GAMBAR SOAL 14













Bila jari-jari roda putar adalah 25 cm, besar gaya untuk memutar 
tangkai putar.

Soal : 15
Perhatikan gambar berikut ini. 

GAMBAR SOAL 15













Berapakah gaya yang diperlukan untuk menarik beban ?



Hukum – hukum Faraday

Daftar Isi :
1.  Hukum Faraday 1
2.  Hukum Faraday 2
3.  Stoikiometri Reaksi Elektrolisis
4.  Latihan Mandiri

Michael Faraday telah menemukan hubungan kuantitatif 
antara massa zat yang dibebaskan pada elektrolisis dengan 
jumlah listrik yang digunakan.

Penemuan tersebut disimpulkannya dalam dua hukum 
sebagai berikut.

 

Hukum Faraday 1 :

Massa zat yang dibebaskan pada elektrolisis berbanding 

lurus dengan jumlah listrik yang digunakan”.

 

1

 

Jumlah muatan listrik (q) sama dengan hasil kali dari 
kuat arus listrik (I) dengan waktu (t)

2








Karena massa berbanding lurus dengan muatannya, 
maka persamaan (1) dapat kita buat menjadi.

3


 

 



Hukum Faraday 2 :
Massa zat yang dibebaskan pada elektrolisis (m) berbanding 
lurus dengan massa ekuivalen zat tersebut (ME)”.


4


Penggabungan hukum Faraday I dan II menghasilkan 
persamaan :

5



Dengan k = tetapan pembanding.

6




Jadi persamaan tersebut dapat dinyatakan :

7







Massa ekuvalen dari unsur – unsur logam sama dengan 
massa atom relatif (Ar) dibagi dengan bilangan oksidasinya.

8




Contoh :
Pada elektrolisis CuSO4 terjadi reduksi ion Cu2+ menjadi Cu.

 

9




Massa ekuivalen Cu dapat kita hitung dengan cara berikut.

10






Contoh soal : 1
Hitung massa tembaga yang dapat dibebaskan oleh 
arus listrik 10 A yang dialirkan selama 965 sekon ke 
dalam larutan CuSO4. (Ar Cu 63,5)

Pembahasan :

11











Sesuai hukum Faraday II, jika listrik yang sama dialirkan 
ke dalam dua atau lebih sel elektrolisis yang berbeda, 
maka perbandingan massa zat – zat yang dibebaskan 
sama dengan perbandingan massa ekuivalennya.

12


 


Contoh soal : 2
Sejumlah arus listrik dapat mengendapkan 0,54 gram 
aluminium dari lelehan aluminium oksida Al2O3
Jika arus listrik yang sama dialirkan ke dalam 
larutan tembaga (II) sulfat (CuSO4), 
berapa gram tembaga yang dapat diendapkan ? 
(Ar Al = 27 dan Cu = 63,5).
 
Pembahasan :

13













Stoikiometri Reaksi Elektrolisis

Stoikiometri reaksi elektrolisis didasarkan pada anggapan 

bahwa arus listrik adalah aliran elektron. Muatan listrik 
dari 1 mole elektron adalah 96.500. Jumlah muatan dari 
1 mol elektron ini sama dengan tetapan Faraday (1F)
 
1 F ≡ 1 mol elektron ≡ 96.500 Coulomb
 

Oleh karena 1 mol elektron ≡ 96.500 coulomb, 

maka dalam I x t Coulomb :

14


 

 

Contoh soal : 3
Berapa liter gas oksigen dalam keadaan STP yang dapat 
terbentuk jika arus listrik 10 ampere dialirkan selama 965 
sekon ke dalam larutan asam sulfat.

Pembahasan :
 
Gas oksigen dibebaskan di anode menurut persamaan reaksi.

15




Jumlah elektron,

16

 







Jumlah mol Oksigen,

17






Volume oksigen,

18




Latihan Mandiri

Nomor : 1
Hitung massa perak yang dapat dibebaskan oleh arus 10 A 
yang dialirkan selama 5 menit ke dalam larutan AgNO3
(Ar Ag = 108).

Pembahasan : 

Nomor : 2
Aluminium diperoleh dari elektrolisis lelehan Al2O3
Berapa aluminium yang dapat diperoleh setiap jam 
jika digunakan arus 100 ampere. (Ar Al = 27)

 

Pembahasan : 

Nomor : 3
Sejumlah arus listrik dapat mengendapkan 1,08 gram 
perak dari larutan perak nitrat AgNO3. Jika arus listrik 
yang sama dialirkan ke dalam larutan nikel sulfat NiSO4
berapa gram nikel dapat diendapkan ? 
(Ar Ni = 59 dan Ag = 108).
 
Pembahasan : 

Nomor : 4
Arus sebesar x ampere dalam 1  jam dapat mengendapkan 
10 mg kromium dari larutan K2Cr2O7. Berapa gram perak 
dapat diendapkan oleh arus listrik yang sama dalam 
2 jam dari larutan perak nitrat? 
(Ar Cr = 5 dan Ag = 108).

 Pembahasan : 


Nomor : 5
Pada elektrolisis larutan CuSO4 dihasilkan 25,4 gram 
endapan Cu pada katode. Hitung volume gas H2 (00C, 1 atm) 
yang dibebaskan pada elektrolisis larutan H2SO4 encer dengan 
jumlah arus listrik yang sama. (Ar Cu = 63,5 dan O = 16)
 
Pembahasan : 

Nomor : 6
Arus sebesar I ampere dapat mengendapkan 2,16 gram 
perak dari larutan perak nitrat dalam 1 jam. 
Berapa liter gas oksigen dapat dihasilkan jika arus listrik 
yang sama dialirkan ke dalam larutan asam sulfat selama 
2 jam?(Ar Ag = 108).
 
Pembahasan : 

Nomor : 7
Satu liter larutan kalium iodida dielektrolisis dengan elektrode 
Pt sampai pH = 13. Tentukan :
a)  Berapa faraday arus listrik yang digunakan
b) Massa iodin yang terbentuk di anode (Ar I = 127).

Pembahasan : 

BACA JUGA :

2. UH - 2 FISIKA XI MIPA 3