Soal :
3
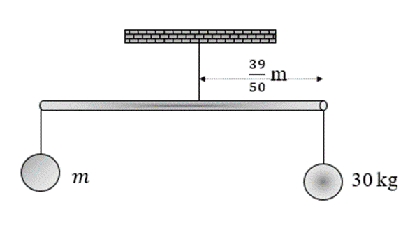
Sebuah batang homogen dengan panjang 2 meter dan
bermassa
1 kg digantungkan dua nuah beban seperti gambar di bawah ini.
Agar sistem seimbang,maka nilai m adalah .........
A. 16 kg
B.
17
kg
C.
19
kg
D. 20 kg
E.
21
kg
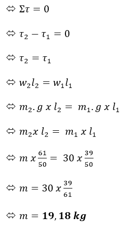
Pembahasan
Perhatikan,
sebelum menjawab soal. Baiknya anda dapat menggambarkan
gaya – gaya yang
bekerja pada sistem. Untuk memudahkan memakai rumus
yang diperlukan.
Setimbang
dalam rotasi,
Kunci
: C






0 comments:
Posting Komentar
Silahkan Berkomentar dengan Bijak sesuai dengan semangat kemajuan yang membangun Blog ini dan Jangan keluar dari topik