Soal : 1
Sebuah kawat yang
panjangnya 2 meter bergerak tegak lurus pada medan magnetik dengan kecepatan 12
m/s. Pada ujung – ujung kawat tadi timbul beda potensial sebesar 1,8 volt. Maka
besar induksi magnetik adalah … Tesla.
A. 0,075
B. 0,38
C. 0,75
D. 13
E. 15
Pembahasan :
Diketahui,
Panjang kawat, l = 2,0 meter
Kecepatan kawat, v =
12 m/s
Beda potensial, εind
= 1,8 volt
Sudut antara B dengan
v, tegak lurus (Ɵ = 900 )
Ditanya,
Kuat medan magnet, B
= … ?
Penyelesaian :
Kunci : A
Soal : 2
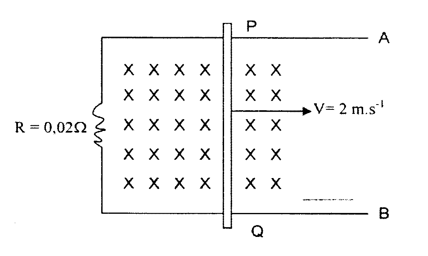
Kawat PQ digeser ke kanan dengan laju tetap dalam waktu 0,25 sekon menempuh jarak 1 m. Jika panjang PQ = 0,1 m, R = 200 Ω dan kuat medan magnet B besarnya 0,15 T.Besar gaya Lorentz yang bekerja pada kawat PQ adalah .... N.
Soal : 3
Kawat
PQ digeser ke kanan dengan laju tetap dan dalam waktu 0,25 sekon menempuh jarak
1 m. Panjang PQ adalah 0,1 m , R = 200 Ω dan kuat medan magnet adalah 0,15 T.
Besar dan arah arus induksi adalah .......
A. 0,3 mA arah P ke Q
B. 0,3 mA arah Q ke P
C. 3,0 mA arah P ke Q
D. 3,0 mA arah Q ke P
E. 60 mA arah P ke Q
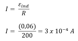
Pembahasan :
Kesimpulannya kuat
arus induksi 0,3 mA dan tanda negatip menunjukkan arah arus dari bagian Q ke P.
Kunci : B
Soal : 4
Kawat PQ panjangnya 50
cm digerakkan sepanjang kawat lengkung AB memotong tegak lurus medan magnet
homogen 2 x 10 – 2 T
seperti pada gambar.
Pernyataan yang benar tentang besar dan arah arus induksi pada kawat PQ adalah ....
Pembahasan :
Besar ggl listrik, ε :
Maka kuat arus listrik induksi,
Kunci : B






0 comments:
Posting Komentar
Silahkan Berkomentar dengan Bijak sesuai dengan semangat kemajuan yang membangun Blog ini dan Jangan keluar dari topik